Shurik2101
Новичок
Приветствую Всех
W166 (GLE), 651 мотор, 4JGDA0EB7GA696722
CR43
Hardware 6519012401 11/14.00
SW Block #0 6519040401 11/14.00
SW Block #1 6519022202 15/02.00
SW Block #2 6519035144
SCRCM3
Partnumber Version Supplier Status flashed by
Hardware 0009019603 14/32.00 Bosch - - -
SW Block #0 0009043800 14/38.00 Bosch valid 14-09-19 Bo 00000000
SW Block #1 0009022429 15/27.00 Bosch valid 20-04-23 MB 00000000
SW Block #2 0009031811 16/31.00 Bosch valid 20-04-23 MB 00100925
Не хочет меня отпускать мочевина - то одно то другое то снова первое.
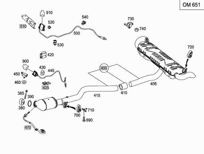
Появилась ошибка по датчику твердых частиц.... Думаю 85 тыс на спидометре, наверное пора - заменил. Спустя примерно год на пробеге примерно 105 тыс машинка стала ругаться на датчик NOX. С теми же мыслями что все имеет свой срок службы заменил датчик NOX на такой же который в авто и стоял - A000 905 98 03. Спустя 9 месяцев при пробеге 120 тыс опять NOX-ругательства (ошибки P229FFC, P229FFD, P2BA9FD, P13DF00). Причем в этот неисправность снова как специально меня подловила - чек на приборе выскочил акурат в районе ВеликогоНовгорода и через пару сотен км меня уже "бодрила" фраза про оставшиеся до блокировки 10 запусков.... а впереди еще почти двое суток пути а за бортом порядка минус 15ти.
Что-то делаю не так? Вроде и не сказать что прям каждый месяц мочевина меня расстраивает но не сильно хочется еще раз (или даже не раз) попасть в ситуацию когда заглушить двигатель нельзя ибо не заведу больше (в первый раз ошибка по NOX вылезла тоже в крайне неудачный момент, когда еще полсуток предстоит дергаться в очереди на границе а глушить двигатель уже нельзя). Да и ценники что NOX что датчика сажевых частиц совсем не радуют.
Читал где-то что софт CDI менял производитель, может это дело как-то в софте поправили а я все сижу на старых версиях - может в этом дело? На каком-то из ресурсов проскакивала инфа что есть смысл снять форсунку Адблю и промыть - мол на таком пробеге там все солями забито. Каюсь, форсунку АДБЛЮ не снимал ни разу.
Кстати по расходу мочевины... что-то мне кажется что достаточно скудненько как-то авто подъедает мочевину. За пробег 45 тыс я влил АДБЛЮ всего 40 литров. Понятно что расход сильно зависит от манеры езды но неплохо бы понимать где норма а где уже нет.
W166 (GLE), 651 мотор, 4JGDA0EB7GA696722
CR43
Hardware 6519012401 11/14.00
SW Block #0 6519040401 11/14.00
SW Block #1 6519022202 15/02.00
SW Block #2 6519035144
SCRCM3
Partnumber Version Supplier Status flashed by
Hardware 0009019603 14/32.00 Bosch - - -
SW Block #0 0009043800 14/38.00 Bosch valid 14-09-19 Bo 00000000
SW Block #1 0009022429 15/27.00 Bosch valid 20-04-23 MB 00000000
SW Block #2 0009031811 16/31.00 Bosch valid 20-04-23 MB 00100925
Не хочет меня отпускать мочевина - то одно то другое то снова первое.
Появилась ошибка по датчику твердых частиц.... Думаю 85 тыс на спидометре, наверное пора - заменил. Спустя примерно год на пробеге примерно 105 тыс машинка стала ругаться на датчик NOX. С теми же мыслями что все имеет свой срок службы заменил датчик NOX на такой же который в авто и стоял - A000 905 98 03. Спустя 9 месяцев при пробеге 120 тыс опять NOX-ругательства (ошибки P229FFC, P229FFD, P2BA9FD, P13DF00). Причем в этот неисправность снова как специально меня подловила - чек на приборе выскочил акурат в районе ВеликогоНовгорода и через пару сотен км меня уже "бодрила" фраза про оставшиеся до блокировки 10 запусков.... а впереди еще почти двое суток пути а за бортом порядка минус 15ти.
Что-то делаю не так? Вроде и не сказать что прям каждый месяц мочевина меня расстраивает но не сильно хочется еще раз (или даже не раз) попасть в ситуацию когда заглушить двигатель нельзя ибо не заведу больше (в первый раз ошибка по NOX вылезла тоже в крайне неудачный момент, когда еще полсуток предстоит дергаться в очереди на границе а глушить двигатель уже нельзя). Да и ценники что NOX что датчика сажевых частиц совсем не радуют.
Читал где-то что софт CDI менял производитель, может это дело как-то в софте поправили а я все сижу на старых версиях - может в этом дело? На каком-то из ресурсов проскакивала инфа что есть смысл снять форсунку Адблю и промыть - мол на таком пробеге там все солями забито. Каюсь, форсунку АДБЛЮ не снимал ни разу.
Кстати по расходу мочевины... что-то мне кажется что достаточно скудненько как-то авто подъедает мочевину. За пробег 45 тыс я влил АДБЛЮ всего 40 литров. Понятно что расход сильно зависит от манеры езды но неплохо бы понимать где норма а где уже нет.


